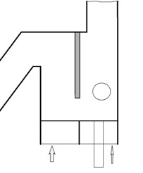
1.) DZL series traveling grate stroke packaged boiler Back to page

Capacity : 1-20 t/h
Design Pressure : 0.7-2.45 MPaG
Steam temperatur : Saturated
Combustion type : Chain Grate
| 1. Traveling Grate Stoker | 4. Steam Drum |
| 2. Coal Hopper | 5. Steam Outlet |
| 3. Furnace | 6. Gas Exit |
Features of DZL Series Boiler :
- Boiler proper adopts the arched tube plate, improving strength safety margin and simplifying the stay;
- The internal threaded fire tube has a good effect of heat transference and high heat effeciency;
- The mechanization combustion is environment friendly and energy saving;
- The auxiliaries are completely provided and the equipment is delivered as a whole.
2.) SZL series water tube boiler

Capacity : 4-25 t/h
Design Pressure : 1.25-3.8 MPaG
Steam temperatur : Saturated
Combustion type : Chain Grate & Traveling Grate
| 1. Traveling Grate Stoker | 5. Main Steam Valve |
| 2. Coal Hopper | 6. Final Combustion Zone |
| 3. Furnace | 7. Bottom Drum |
| 4. Upper Drum | 8. Convection Tube |
Features of SZL Series Boiler:
- The body adopt longitudinal double-drum structure, full layout of heating surface and high thermal efficiency;
- Mechanized combustion;
- Environment friendly and energy saving;
- Complete auxiliaries offered and high self-control;
- The body and the base are separately delivered;
3.) SHL series field-assembled coal fired boiler

Capacity : 35-110 t/h
Design Pressure : 2.45-5.4 MPaG
Steam temperatur : Superheated
Combustion type : Chain Grate Spreader with Reversal Grate
| 1. Chain Grate Stoker | 8. Bottom Drum |
| 2. Coal Hopper | 9. Economizer |
| 3. Furnace | 10. Air Preheater |
| 4. Final Combustion Zone | 11. Hot Air Outlet |
| 5. Steam Outlet | 12. Cold Air Inlet |
| 6. Upper Drum | 13. Flue Gas Exit |
| 7. Convection Tubes |
4.) Field Assembled Fluidized bed & Circulating Fluidized Bed Boiler (CFB)

Capacity : 10-150 t/h
Steam temperatur : Superheated
Press & Temperature According Customer

| 1. Igniter | 9. Low Temperature Superheater |
| 2. Coal Feeder | 10. Economizer |
| 3. Furnace | 11. Second Stage Air Preheater |
| 4. Fire Gas | 12. First Stage Air Preheater |
| 5. Steam Drum | 13. Cold Air Inlet |
| 6. Steam Outlet | 14. Hot Air Outlet |
| 7. Tight Temperature Superheater | 15. Cyclone Separator |
| 8. Attemperator (reduce steam temperature) |
Fluidized Bed Boiler Main Technical Features:

High temperature cyclone separator: HT erosion resistant material, flexible connection, simple and reliable separator, HT fly ash circulated for re-combustion in the boiler;

Two areas of combustion: 60-70% of combustion air enters from under the bed and into the area of high density solids burning, 30-40% of the combustion air enters above this area, increasing the movement of burning solids into a more open area to ensure complete combustion;

Wind Entering Device
Unique air feed devices: Design and spacing of air distribution heads ensure proper fluidizing of the bed;

Material Reclamation Device
- Material reclamation device ensures unburned materials return to the bed for to complete combustion prevents slagging during the material circulation;
- Easy ignition: includes the manual and automatic ignition below the bed and also the ignition above the bed;
- Excess air coefficient alpha = 1.1 - 1.2;
- Automatic combustion control system reduces the gas discharge loss and avoids the slag forming, ensures the safety and high thermal efficiency.





Pengunjung hari ini
Pengunjung Bulan ini
Pengunjung Online 